Vyrovnání potenciálů kabelových tras pro prostředí Ex, zóny 2/22

Systém vyrovnání potenciálů se montuje na nosný systém kabelových tras a umožňuje pomocí desek pro vyrovnání potenciálů, svorek a uzavřeného okružního vodiče potenciálového vyrovnání vzájemné propojení vodivých a elektrických zařízení do systému vyrovnání potenciálů v Ex prostředí. Tím je zaručeno důsledné nepřetržité propojení.

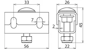
Svorky pro vyrovnání potenciálů kabelových tras a PA desek

Svorky pro vyrovnání potenciálů (PAK) kabelových tras

  • propojuje se pouze vodičem okružního vyrovnání potenciálů (pocínované měděné lano)
  • upevnění do bočních otvorů kabelového žlabu nebo na PA desku (desku vyrovnání potenciálů PAP 1/ PAP 2)
  • svorka pro vyrovnání potenciálů se montuje přibližně každého 0,5 m

6 Produkty

Obj. č. 306200 PAK 35 M8 EX KB ER

GTIN 4013364327368, Číslo celního sazebníku (EU): 85359000, Váha brutto: 113.40 g, Balící jednotka: 50.00 ks


Vyobrazení

Další informace

Svorka pro vyrovnání potenciálů nosných systémů kabelových tras
Svorka pro vyrovnání potenciálů, pro uložení
okružního vodiče vyrovnání potenciálů,
pro upevnění na kabelové trasy
s bočními otvory, kabelové žlaby
nebo dálkové perforované kabelové trasy,
stejně jako pro upevnění na desky pro
vyrovnání potenciálů PAP1-EX-KB-ER
nebo PAP2-EX-KB-ER
Pro použití v Ex zónách 2/22

Materiál: nerez
Rozsah svorky pro okružní vodič vyrovnání potenciálů: 35 mm², Cu/gal Sn
Číslo materiálu: 1.4301
Zóna Ex: 2/22

Výrobek: DEHN
Typ: PAK 35 M8 EX KB ER
Obj. č.: 306200
nebo rovnocenný.

Certifikáty

 

Technické informace

Materiál nerez
Připojení na PAP 1 EX KB ER resp. PAP 2 EX KB ER nebo kabelové trasy a kabelové lávky
Rozsah svorky pro okružní vodič vyrovnání potenciálů 35 mm², Cu /gal Sn
Šroub M8 x 40 mm
Materiál šroubu/matice nerez
Číslo materiálu 1.4301
Zóna Ex 2/22
Zkratový proud AC (50 Hz/5 s) 1,5 kA
Zkratový proud DC (5 s) 250 A

Produkt 306200 byl přidán na seznam.

K seznamu

Produkt 306200 byl přidán do nákupního košíku.

Obj. č. 306201 PAK 50 M8 EX KB ER

GTIN 4013364327375, Číslo celního sazebníku (EU): 85359000, Váha brutto: 128.80 g, Balící jednotka: 50.00 ks


Vyobrazení

Další informace

Svorka pro vyrovnání potenciálů nosných systémů kabelových tras
Svorka pro vyrovnání potenciálů, pro uložení
okružního vodiče vyrovnání potenciálů,
pro upevnění na kabelové trasy
s bočními otvory, kabelové žlaby
nebo dálkové perforované kabelové trasy,
stejně jako pro upevnění na desky pro
vyrovnání potenciálů PAP1-EX-KB-ER
nebo PAP2-EX-KB-ER
Pro použití v Ex zónách 2/22

Materiál: nerez
Rozsah svorky pro okružní vodič vyrovnání potenciálů: 50 mm², Cu/gal Sn
Číslo materiálu: 1.4301
Zóna Ex: 2/22

Výrobek: DEHN
Typ: PAK 50 M8 EX KB ER
Obj. č.: 306201
nebo rovnocenný.

Certifikáty

 

Technické informace

Materiál nerez
Připojení na PAP 1 EX KB ER resp. PAP 2 EX KB ER nebo kabelové trasy a kabelové lávky
Rozsah svorky pro okružní vodič vyrovnání potenciálů 50 mm², Cu /gal Sn
Šroub M8 x 40 mm
Materiál šroubu/matice nerez
Číslo materiálu 1.4301
Zóna Ex 2/22

Produkt 306201 byl přidán na seznam.

K seznamu

Produkt 306201 byl přidán do nákupního košíku.

Obj. č. 306202 PAK 70 M8 EX KB ER

GTIN 4013364327351, Číslo celního sazebníku (EU): 85359000, Váha brutto: 110.00 g, Balící jednotka: 50.00 ks


Vyobrazení

Další informace

Svorka pro vyrovnání potenciálů nosných systémů kabelových tras
Svorka pro vyrovnání potenciálů, pro uložení
okružního vodiče vyrovnání potenciálů,
pro upevnění na kabelové trasy
s bočními otvory, kabelové žlaby
nebo dálkové perforované kabelové trasy,
stejně jako pro upevnění na desky pro
vyrovnání potenciálů PAP1-EX-KB-ER
nebo PAP2-EX-KB-ER
Pro použití v Ex zónách 2/22

Materiál: nerez
Rozsah svorky pro okružní vodič vyrovnání potenciálů: 70 mm², Cu/gal Sn
Číslo materiálu: 1.4301
Zóna Ex: 2/22

Výrobek: DEHN
Typ: PAK 70 M8 EX KB ER
Obj. č.: 306202
nebo rovnocenný.

Certifikáty

 

Technické informace

Materiál nerez
Připojení na PAP 1 EX KB ER resp. PAP 2 EX KB ER nebo kabelové trasy a kabelové lávky
Rozsah svorky pro okružní vodič vyrovnání potenciálů 70 mm², Cu /gal Sn
Šroub M8 x 40 mm
Materiál šroubu/matice nerez
Číslo materiálu 1.4301
Zóna Ex 2/22
Zkratový proud AC (50 Hz/5 s) 1,5 kA
Zkratový proud DC (5 s) 250 A

Produkt 306202 byl přidán na seznam.

K seznamu

Produkt 306202 byl přidán do nákupního košíku.

Obj. č. 306204 PAK 35 M6 EX KB ER

GTIN 4013364336766, Číslo celního sazebníku (EU): 85359000, Váha brutto: 98.20 g, Balící jednotka: 50.00 ks


Vyobrazení

Další informace

Svorka pro vyrovnání potenciálů nosných systémů kabelových tras
Svorka pro vyrovnání potenciálů, pro uložení
okružního vodiče vyrovnání potenciálů,
pro upevnění na kabelové trasy
s bočními otvory, kabelové žlaby
nebo dálkové perforované kabelové trasy,
stejně jako pro upevnění na desky pro
vyrovnání potenciálů PAP1-EX-KB-ER
nebo PAP2-EX-KB-ER
Pro použití v Ex zónách 2/22

Materiál: nerez
Rozsah svorky pro okružní vodič vyrovnání potenciálů: 35 mm², Cu/gal Sn
Číslo materiálu: 1.4301
Zóna Ex: 2/22

Výrobek: DEHN
Typ: PAK 35 M6 EX KB ER
Obj. č.: 306204
nebo rovnocenný.

Certifikáty

 

Technické informace

Materiál nerez
Připojení na PAP 1 EX KB ER resp. PAP 2 EX KB ER nebo kabelové trasy a kabelové lávky
Rozsah svorky pro okružní vodič vyrovnání potenciálů 35 mm², Cu /gal Sn
Šroub M6 x 35 mm
Materiál šroubu/matice nerez
Číslo materiálu 1.4301
Zóna Ex 2/22

Produkt 306204 byl přidán na seznam.

K seznamu

Produkt 306204 byl přidán do nákupního košíku.

Obj. č. 306205 PAK 50 M6 EX KB ER

GTIN 4013364336773, Číslo celního sazebníku (EU): 85359000, Váha brutto: 95.60 g, Balící jednotka: 50.00 ks


Vyobrazení

Další informace

Svorka pro vyrovnání potenciálů nosných systémů kabelových tras
Svorka pro vyrovnání potenciálů, pro uložení
okružního vodiče vyrovnání potenciálů,
pro upevnění na kabelové trasy
s bočními otvory, kabelové žlaby
nebo dálkové perforované kabelové trasy,
stejně jako pro upevnění na desky pro
vyrovnání potenciálů PAP1-EX-KB-ER
nebo PAP2-EX-KB-ER
Pro použití v Ex zónách 2/22

Materiál: nerez
Rozsah svorky pro okružní vodič vyrovnání potenciálů: 50 mm², Cu/gal Sn
Číslo materiálu: 1.4301
Zóna Ex: 2/22

Výrobek: DEHN
Typ: PAK 50 M6 EX KB ER
Obj. č.: 306205
nebo rovnocenný.

Certifikáty

 

Technické informace

Materiál nerez
Připojení na PAP 1 EX KB ER resp. PAP 2 EX KB ER nebo kabelové trasy a kabelové lávky
Rozsah svorky pro okružní vodič vyrovnání potenciálů 50 mm², Cu /gal Sn
Šroub M6 x 35 mm
Materiál šroubu/matice nerez
Číslo materiálu 1.4301
Zóna Ex 2/22

Produkt 306205 byl přidán na seznam.

K seznamu

Produkt 306205 byl přidán do nákupního košíku.

Obj. č. 306206 PAK 70 M6 EX KB ER

GTIN 4013364336780, Číslo celního sazebníku (EU): 85359000, Váha brutto: 94.20 g, Balící jednotka: 50.00 ks


Vyobrazení

Další informace

Svorka pro vyrovnání potenciálů nosných systémů kabelových tras
Svorka pro vyrovnání potenciálů, pro uložení
okružního vodiče vyrovnání potenciálů,
pro upevnění na kabelové trasy
s bočními otvory, kabelové žlaby
nebo dálkové perforované kabelové trasy,
stejně jako pro upevnění na desky pro
vyrovnání potenciálů PAP1-EX-KB-ER
nebo PAP2-EX-KB-ER
Pro použití v Ex zónách 2/22

Materiál: nerez
Rozsah svorky pro okružní vodič vyrovnání potenciálů: 70 mm², Cu/gal Sn
Číslo materiálu: 1.4301
Zóna Ex: 2/22

Výrobek: DEHN
Typ: PAK 70 M6 EX KB ER
Obj. č.: 306206
nebo rovnocenný.

Certifikáty

 

Technické informace

Materiál nerez
Připojení na PAP 1 EX KB ER resp. PAP 2 EX KB ER nebo kabelové trasy a kabelové lávky
Rozsah svorky pro okružní vodič vyrovnání potenciálů 70 mm², Cu /gal Sn
Šroub M6 x 35 mm
Materiál šroubu/matice nerez
Číslo materiálu 1.4301
Zóna Ex 2/22

Produkt 306206 byl přidán na seznam.

K seznamu

Produkt 306206 byl přidán do nákupního košíku.


Svorka pro vyrovnání potenciálů drátěných žlabů

Svoka pro vyrovnání potenciálů (PAK) drátěných žlabů

  • propojuje se pouze vodičem okružního vyrovnání potenciálů 35 mm2, obj. č. 832 838 (pocínované měděné lano)
  • upevnění na drátěný žlab nebo na PA desku (desku pro vyrovnání potenciálů PAP 1/ PAP 2)
  • svorka pro vyrovnání potenciálů se montuje přibližně každého 0,5 m

1 Produkt

Obj. č. 306203 PAK 35 M8 EX GI ER

GTIN 4013364327382, Číslo celního sazebníku (EU): 85359000, Váha brutto: 128.80 g, Balící jednotka: 50.00 ks


Vyobrazení

Další informace

Svorka pro vyrovnání potenciálů nosných systémů kabelových tras
Svorka pro vyrovnání potenciálů, pro uložení
okružního vodiče vyrovnání potenciálů,
pro upevnění z boku na drátěné žlaby
stejně jako pro upevnění na desky pro
vyrovnání potenciálů PAP1-EX-KB-ER
nebo PAP2-EX-KB-ER
Pro použití v Ex zónách 2/22

Materiál: nerez
Rozsah svorky pro okružní vodič vyrovnání potenciálů: 35 mm², Cu/gal Sn
Číslo materiálu: 1.4301
Zóna Ex: 2/22

Výrobek: DEHN
Typ: PAK 35 M8 EX GI ER
Obj. č.: 306203
nebo rovnocenný.

Certifikáty

 

Technické informace

Materiál nerez
Připojení na PAP 1 EX GI ER resp. PAP 2 EX GI ER nebo drátěný žlab
Rozsah svorky pro okružní vodič vyrovnání potenciálů 35 mm², Cu/gal Sn
Šroub M8 x 40 mm
Materiál šroubu/matice nerez
Číslo materiálu 1.4301
Zóna Ex 2/22
Zkratový proud AC (50 Hz/5 s) 1,5 kA
Zkratový proud DC (5 s) 250 A

Produkt 306203 byl přidán na seznam.

K seznamu

Produkt 306203 byl přidán do nákupního košíku.


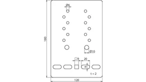
PA desky pro kabelové žlaby

PA deska (PAP) pro vyrovnání potenciálů kabelových žlabů

  • - uchycení svorky (PAK) pro okružní vodič vyrovnání potenciálů (pocínované měděné lano)
  • - upevnění na kabelový žlab s bočními otvory

2 Produkty

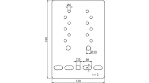
Obj. č. 306210 PAP 1 EX KB ER

GTIN 4013364327399, Číslo celního sazebníku (EU): 85359000, Váha brutto: 374.00 g, Balící jednotka: 15.00 ks


Vyobrazení

Další informace

Deska pro vyrovnání potenciálů nosných systémů kabelových tras
deska pro vyrovnání potenciálů, pro připojení
na kabelové trasy s bočními otvory, kabelové
žlaby nebo perforované kabelové lávky
pro uchycení svorek pro vyrovnání potenciálů
kabelových tras (KB)
pro použití v Ex zónách 2/22
Materiál: nerez
Otvory pro připojení vodiče vyrovnání potenciálů s kabelovým okem: 3x Ø11 mm, 3x Ø9 mm, odlehčení tahu 3x lanová svorka M6
Zóna Ex: 2/22

Výrobek: DEHN
Typ: PAP 1 EX KB ER
Obj. č.: 306210
nebo rovnocenný.

Certifikáty

 

Technické informace

Materiál nerez
Rozměry 120 x 180 mm
Otvory pro připojení vodiče vyrovnání potenciálů s kabelovým okem 3x Ø11 mm, 3x Ø9 mm, odlehčení tahu 3x lanová svorka M6
Možnost připojení svorek vyrovnání potenciálů PAK ... EX KB ER
Otvory pro připojení na kabelové žlaby [4x] 9 x 20 / [1x] 9 x 9 mm
Zóna Ex 2/22
Zkratový proud AC (50 Hz/5 s) 1,5 kA
Zkratový proud DC (5 s) 250 A

Produkt 306210 byl přidán na seznam.

K seznamu

Produkt 306210 byl přidán do nákupního košíku.

Obj. č. 306211 PAP 2 EX KB ER

GTIN 4013364327405, Číslo celního sazebníku (EU): 85359000, Váha brutto: 401.00 g, Balící jednotka: 15.00 ks


Vyobrazení

Další informace

Deska pro vyrovnání potenciálů nosných systémů kabelových tras
deska pro vyrovnání potenciálů, pro připojení
na kabelové trasy s bočními otvory, kabelové
žlaby nebo perforované kabelové lávky
pro uchycení svorek pro vyrovnání potenciálů
kabelových tras (KB)
pro použití v Ex zónách 2/22
Materiál: nerez
Otvory pro připojení vodiče vyrovnání potenciálů s kabelovým okem: 2x Ø 11 mm, 12x Ø 7 mm
Zóna Ex: 2/22

Výrobek: DEHN
Typ: PAP 2 EX KB ER
Obj. č.: 306211
nebo rovnocenný.

Certifikáty

 

Technické informace

Materiál nerez
Rozměry 120 x 195 mm
Otvory pro připojení vodiče vyrovnání potenciálů s kabelovým okem 2x Ø 11 mm, 12x Ø 7 mm
Možnost připojení svorek vyrovnání potenciálů PAK ... EX KB ER
Otvory pro připojení na kabelové žlaby [4x] 9 x 20 / [1x] 9 x 9 mm
Zóna Ex 2/22
Zkratový proud AC (50 Hz/5 s) 1,5 kA
Zkratový proud DC (5 s) 250 A

Produkt 306211 byl přidán na seznam.

K seznamu

Produkt 306211 byl přidán do nákupního košíku.


PA desky pro drátěné žlaby

PA deska (PAP) pro vyrovnání potenciálů kabelových žlabů

  • - uchycení svorky (PAK) pro okružní vodič vyrovnání potenciálů (pocínované měděné lano)
  • - upevnění na drátěný žlab

2 Produkty

Obj. č. 306212 PAP 1 EX GI ER

GTIN 4013364327412, Číslo celního sazebníku (EU): 85359000, Váha brutto: 384.00 g, Balící jednotka: 15.00 ks


Vyobrazení

Další informace

Deska pro vyrovnání potenciálů nosných systémů kabelových tras
deska pro vyrovnání potenciálů, pro připojení
na drátěné žlaby
pro uchycení svorek pro vyrovnání potenciálů
drátěných žlabů (GI)
pro použití v Ex zónách 2/22
Materiál: nerez
Otvory pro připojení vodiče vyrovnání potenciálů s kabelovým okem: 3x Ø11 mm, 3x Ø9 mm, odlehčení tahu 3x lanová svorka M6
Zóna Ex: 2/22

Výrobek: DEHN
Typ: PAP 1 EX GI ER
Obj. č.: 306212
nebo rovnocenný.

Certifikáty

 

Technické informace

Materiál nerez
Rozměry 120 x 180 mm
Otvory pro připojení vodiče vyrovnání potenciálů s kabelovým okem 3x Ø11 mm, 3x Ø9 mm, odlehčení tahu 3x lanová svorka M6
Možnost připojení svorek vyrovnání potenciálů PAK ... EX KB ER
Otvory pro připojení na drátěné žlaby drátěný žlab [4x] 9 x 20 / [1x] 9 x 9 mm
Zóna Ex 2/22
Zkratový proud AC (50 Hz/5 s) 1,5 kA
Zkratový proud DC (5 s) 250 A

Produkt 306212 byl přidán na seznam.

K seznamu

Produkt 306212 byl přidán do nákupního košíku.

Obj. č. 306213 PAP 2 EX GI ER

GTIN 4013364327429, Číslo celního sazebníku (EU): 85359000, Váha brutto: 391.50 g, Balící jednotka: 15.00 ks


Vyobrazení

Další informace

Deska pro vyrovnání potenciálů nosných systémů kabelových tras
deska pro vyrovnání potenciálů, pro připojení
na drátěné žlaby
pro uchycení svorek pro vyrovnání potenciálů
drátěných žlabů (GI)
pro použití v Ex zónách 2/22
Materiál: nerez
Otvory pro připojení vodiče vyrovnání potenciálů s kabelovým okem: 2x Ø 11 mm, 12x Ø 7 mm
Zóna Ex: 2/22

Výrobek: DEHN
Typ: PAP 2 EX GI ER
Obj. č.: 306213
nebo rovnocenný.

Certifikáty

 

Technické informace

Materiál nerez
Rozměry 120 x 195 mm
Otvory pro připojení vodiče vyrovnání potenciálů s kabelovým okem 2x Ø 11 mm, 12x Ø 7 mm
Možnost připojení svorek vyrovnání potenciálů PAK ... EX KB ER
Otvory pro připojení na drátěné žlaby [4x] 9 x 20 / [1x] 9 x 9 mm
Zóna Ex 2/22
Zkratový proud AC (50 Hz/5 s) 1,5 kA
Zkratový proud DC (5 s) 250 A

Produkt 306213 byl přidán na seznam.

K seznamu

Produkt 306213 byl přidán do nákupního košíku.


Svorka pro vyrovnání potenciálů na trubku

Svorka pro vyrovnání potenciálů na trubku (SBD 60 PAK 35)

  • - propojuje se pouze vodičem okružního vyrovnání potenciálů 35 mm2, obj. č. 832 838 (pocínované měděné lano)
  • - upevnění na kruhovou trubku DN50 (60 mm)
  • - svorka pro vyrovnání potenciálů se montuje přibližně každého 0,5 m

1 Produkt

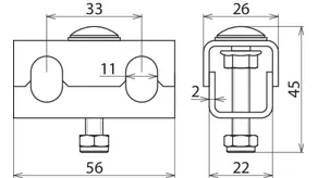
Obj. č. 306220 SBD 60 PAK 35 EX ER

GTIN 4013364327436, Číslo celního sazebníku (EU): 85359000, Váha brutto: 408.00 g, Balící jednotka: 50.00 ks


Vyobrazení

Další informace

Svorka na potrubí pro vyrovnání potenciálů nosných systémů kabelových tras
svorka na potrubí pro vyrovnání potenciálů
se svorkou pro uložení okružního vodiče vyrovnání potenciálů
na kruhovou trubku DN50
pro použití v Ex zónách 2/22

Materiál: nerez
Rozsah svorky pro okružní vodič vyrovnání potenciálů: 35 mm², Cu/gal Sn
Zóna Ex: 2/22

Výrobek: DEHN
Typ: SBD 60 PAK 35 EX ER
Obj. č.: 306220
nebo rovnocenný.

Certifikáty

 

Technické informace

Materiál nerez
Rozměry Ø 60 mm
Rozsah svorky pro okružní vodič vyrovnání potenciálů 35 mm², Cu /gal Sn
Zóna Ex 2/22

Produkt 306220 byl přidán na seznam.

K seznamu

Produkt 306220 byl přidán do nákupního košíku.


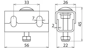
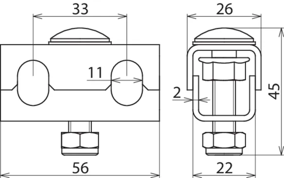
Lanová svorka

Lanová svorka
pro odlehčení tahu měděneho lana přichyceného na PA desku pro vyrovnání potenciálů PAP1 EX KB ER resp. PAP1 EX GI ER.

2 Produkty

Obj. č. 306230 MPE S 35 ER

GTIN 4013364327443, Číslo celního sazebníku (EU): 85359000, Váha brutto: 10.60 g, Balící jednotka: 10.00 ks


Vyobrazení

Další informace

Lanová svorka pro nosné systémy kabelových tras
lanová svorka pro odlehčení tahu
měděného lana přichyceného
na PA desku pro vyrovnání potenciálů
PAP1-EX-KB-ER resp. PAP1-EX-GI-ER
Materiál: nerez
Rozsah svorky měděného lana: 35 mm²
Zóna Ex: 2/22

Výrobek: DEHN
Typ: MPE S 35 ER
Obj. č.: 306230
nebo rovnocenný.

Certifikáty

 

Technické informace

Materiál nerez
Připojení na PAP1 EX KB ER resp. PAP1 EX GI ER
Rozsah svorky měděného lana 35 mm²
Zóna Ex 2/22

Produkt 306230 byl přidán na seznam.

K seznamu

Produkt 306230 byl přidán do nákupního košíku.

Obj. č. 306231 MPE S 50/70 ER

GTIN 4013364327450, Číslo celního sazebníku (EU): 85359000, Váha brutto: 12.40 g, Balící jednotka: 10.00 ks


Vyobrazení

Další informace

Lanová svorka pro nosné systémy kabelových tras
lanová svorka pro odlehčení tahu
měděného lana přichyceného
na PA desku pro vyrovnání potenciálů
PAP1-EX-KB-ER resp. PAP1-EX-GI-ER
Materiál: nerez
Rozsah svorky měděného lana: 50 resp. 70 mm²
Zóna Ex: 2/22

Výrobek: DEHN
Typ: MPE S 50/70 ER
Obj. č.: 306231
nebo rovnocenný.

Certifikáty

 

Technické informace

Materiál nerez
Připojení na PAP1 EX KB ER resp. PAP1 EX GI ER
Rozsah svorky měděného lana 50 resp. 70 mm²
Zóna Ex 2/22

Produkt 306231 byl přidán na seznam.

K seznamu

Produkt 306231 byl přidán do nákupního košíku.


Pojistná matice

Pojistná matice pro lanové svorky (MPE S 35 ER a MPE S 50/70 ER).

1 Produkt

Obj. č. 306240 SM SS M6 ER

GTIN 4013364327467, Číslo celního sazebníku (EU): 85359000, Váha brutto: 2.25 g, Balící jednotka: 20.00 ks


Vyobrazení

Další informace

Šroub M6 nerez
zajištění šroubu M6 proti
neúmyslnému uvolnění nebo povolení
vlivem vibrací (samojištění)
pro lanové svorky MPE S 35 ER resp. MPE S 50/70 ER
Materiál: nerez
Zóna Ex: 2/22

Výrobek: DEHN
Typ: SM SS M6 ER
Obj. č.: 306240
nebo rovnocenný.

Certifikáty

 

Technické informace

Materiál nerez
Provedení M6
Zóna Ex 2/22

Produkt 306240 byl přidán na seznam.

K seznamu

Produkt 306240 byl přidán do nákupního košíku.


Šestihranná matice

Matice pro lanové svorky (MPE S 35 ER a MPE S 50/70 ER).

1 Produkt

Obj. č. 505901 SKM M6 DIN 934 V2A

GTIN 4013364019355, Číslo celního sazebníku (EU): 73181639, Váha brutto: 2.10 g, Balící jednotka: 20.00 ks


Vyobrazení

Další informace

Šroub M6 nerez
zajištění šroubu M6 proti
neúmyslnému uvolnění nebo povolení
vlivem vibrací (samojištění)
pro lanové svorky MPE S 35 ER resp. MPE S 50/70 ER
Materiál: nerez

Výrobek: DEHN
Typ: SKM M6 DIN 934 V2A
Obj. č.: 505901
nebo rovnocenný.

Certifikáty

 

Technické informace

Materiál nerez
Provedení M6

Produkt 505901 byl přidán na seznam.

K seznamu

Produkt 505901 byl přidán do nákupního košíku.


Pérová podložka

Pérová podložka pro lanové svorky (MPE S 35 ER a MPE S 50/70 ER).

1 Produkt

Obj. č. 524906 FR A6 V2A

GTIN 4013364004009, Číslo celního sazebníku (EU): 73182100, Váha brutto: 1.00 g, Balící jednotka: 20.00 ks


Vyobrazení

Další informace

Šroub M6 nerez
zajištění šroubu M6 proti
neúmyslnému uvolnění nebo povolení
vlivem vibrací (samojištění)
pro lanové svorky MPE S 35 ER resp. MPE S 50/70 ER
Materiál: nerez

Výrobek: DEHN
Typ: FR A6 V2A
Obj. č.: 524906
nebo rovnocenný.

Certifikáty

 

Technické informace

Materiál nerez
Provedení A6

Produkt 524906 byl přidán na seznam.

K seznamu

Produkt 524906 byl přidán do nákupního košíku.


back to top