Svorky pro prostředí Ex, zóny 2/22

Svorky s pérovou podložkou k propojení/napojení drátů/lan v prostředí s nebezpečím výbuchu, zónách 2/22. Svorky jsou zajištěny proti povolení (podle VDE 0185-305-3 Bbl 2).

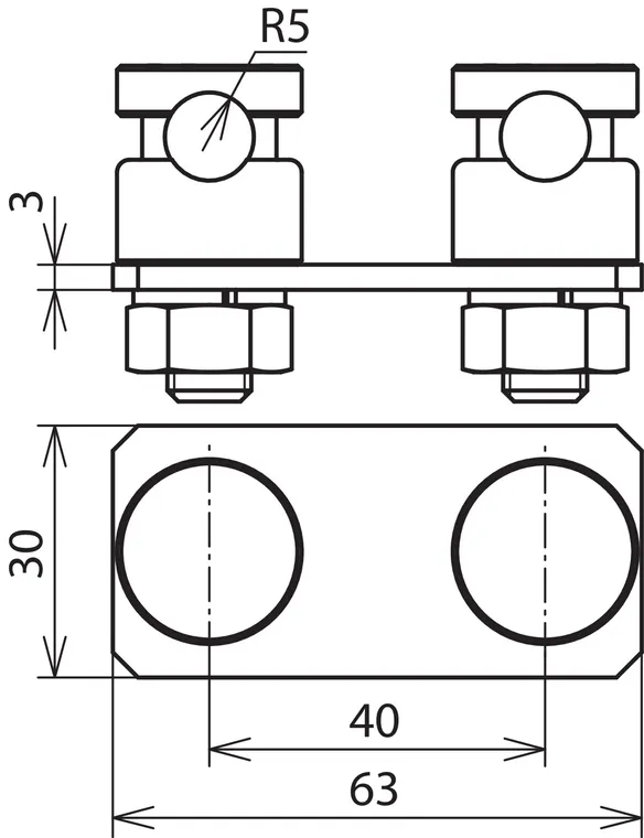
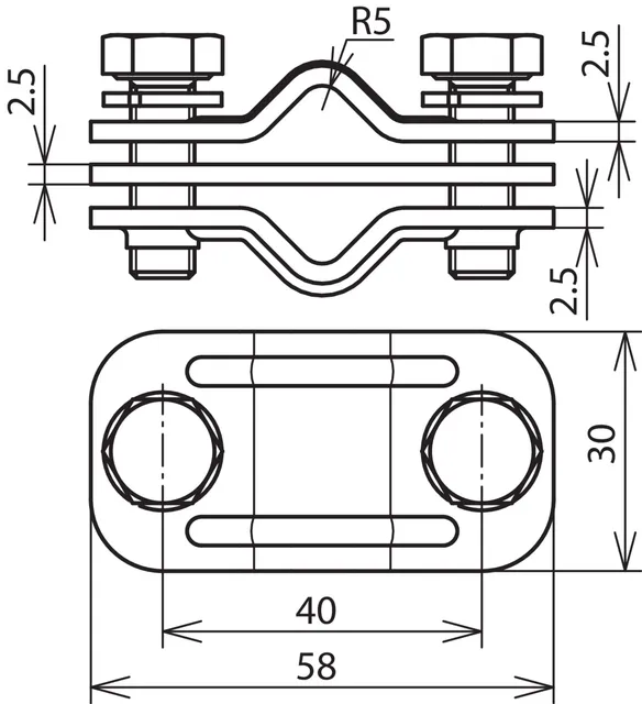
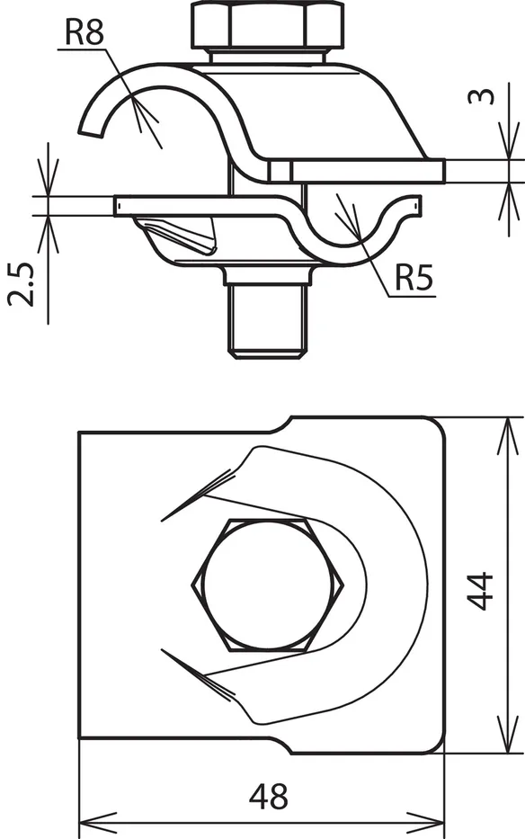
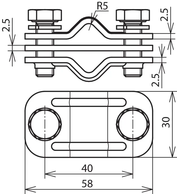
Zkušební svorka UNI 200 kA (10/350 μs) s pérovou podložkou pro dva dráty

1 Produkt

Obj. č. 459200 UTK 200 2X10 FL30 ZP V2A

GTIN 4013364155527, Číslo celního sazebníku (EU): 85359000, Váha brutto: 132.00 g, Balící jednotka: 1.00 ks


Vyobrazení

Další informace

Zkušební svorka UNI (200 kA), pro dva dráty, nerez
zkušební svorka UNI pro spojení jímací tyče s vedením
nebo svodu s vývodem z uzemnění
provedení s pérovou podložkou a mezidestičkou pro dráty a pásky
zkouška bleskovým proudem 200 kA (10/350)
Materiál: nerez
Rozsah svorky drát/drát: 10/10 mm
Rozsah svorky drát/pásek: 10/30 mm
Schopnost vést bleskový proud (10/350 µs): *)
Norma: s přihlédnutím k ČSN EN 62561-1

Výrobek: DEHN
Typ: UTK 200 2X10 FL30 ZP V2A
Obj. č.: 459200
nebo rovnocenný.

Certifikáty

 

Technické informace

Materiál nerez
Rozsah svorky drát/drát 10/10 mm
Rozsah svorky drát/pásek 10/30 mm
Schopnost vést bleskový proud (10/350 µs) ? *)
Norma s přihlédnutím k ČSN EN 62561-1
*) viz. testovací protokol.

Produkt 459200 byl přidán na seznam.

K seznamu

Produkt 459200 byl přidán do nákupního košíku.


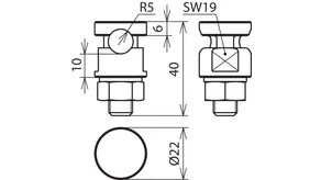
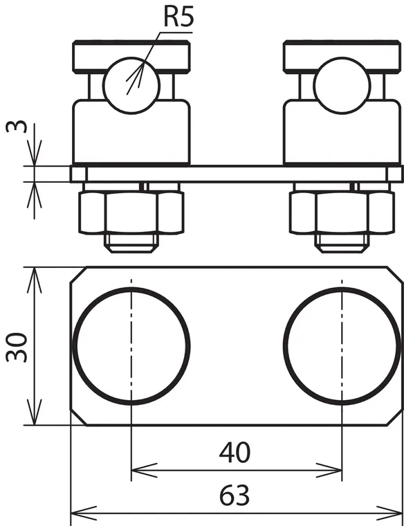
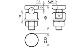
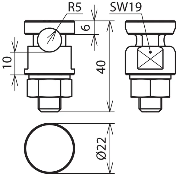
Zkušební svorka UNI 200 kA (10/350 μs) s pérovou podložkou pro zaváděcí tyče/vývody uzemnění

1 Produkt

Obj. č. 459219 UTK 200 8.10 16 ZP V2A

GTIN 4013364158221, Číslo celního sazebníku (EU): 85359000, Váha brutto: 136.00 g, Balící jednotka: 1.00 ks


Vyobrazení

Další informace

Zkušební svorka UNI (200 kA), pro zaváděcí tyče/vývody uzemnění
Zkušební svorka UNI pro spojení jímací tyče
nebo zaváděcí tyče s kruhovým vodičem
Provedení s pérovou podložkou a mezidestičkou pro dráty a pásky
Zkouška bleskovým proudem 200 kA (10/350)
Materiál: nerez
Rozsah svorky drát/drát: 8 - 10/16 mm
Schopnost vést bleskový proud (10/350 µs): *)
Norma: s přihlédnutím k ČSN EN 62561-1

Výrobek: DEHN
Typ: UTK 200 8.10 16 ZP V2A
Obj. č.: 459219
nebo rovnocenný.

Certifikáty

 

Technické informace

Materiál nerez
Rozsah svorky drát/drát 8 - 10/16 mm
Schopnost vést bleskový proud (10/350 µs) ? *)
Norma s přihlédnutím k ČSN EN 62561-1
*) viz. testovací protokol.

Produkt 459219 byl přidán na seznam.

K seznamu

Produkt 459219 byl přidán do nákupního košíku.


Spojka 200 kA (10/350 μs) s pérovou podložkou

1 Produkt

Obj. č. 380209 KS 200 B11.11 FL30X4 V2A

GTIN 4013364158269, Číslo celního sazebníku (EU): 85359000, Váha brutto: 110.00 g, Balící jednotka: 1.00 ks


Vyobrazení

Další informace

Spojka (200 kA), s pérovou podložkou, nerez
Spojka pro připojení plochého pásku
na konstrukce
Provedení pro ploché vodiče
Zkouška bleskovým proudem 200 kA (10/350)
Materiál: nerez
Rozsah svorky pásek: 30 x 4 mm
Schopnost vést bleskový proud (10/350 µs): *)
Norma: s přihlédnutím k ČSN EN 62561-1

Výrobek: DEHN
Typ: KS 200 B11.11 FL30X4 V2A
Obj. č.: 380209
nebo rovnocenný.

Certifikáty

 

Technické informace

Materiál nerez
Rozsah svorky pásek 30 x 4 mm
Schopnost vést bleskový proud (10/350 µs) ? *)
Norma s přihlédnutím k ČSN EN 62561-1
*) viz. testovací protokol.

Produkt 380209 byl přidán na seznam.

K seznamu

Produkt 380209 byl přidán do nákupního košíku.


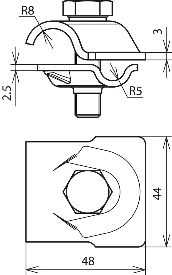
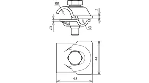
Svorka KS 200 kA (10/350 μs) s pérovou podložkou

1 Produkt

Obj. č. 301209 KSV 200 10 FER V2A

GTIN 4013364158252, Číslo celního sazebníku (EU): 85359000, Váha brutto: 67.00 g, Balící jednotka: 1.00 ks


Vyobrazení

Další informace

Svorka KS (200 kA), s pérovou podložkou, nerez
svorka KS pro připojení drátů na ploché profily
zkouška bleskovým proudem 200 kA (10/350 μs)
Materiál: nerez
Rozsah svorky drát: 10 mm
Schopnost vést bleskový proud (10/350 µs): *)
Norma: s přihlédnutím k ČSN EN 62561-1

Výrobek: DEHN
Typ: KSV 200 10 FER V2A
Obj. č.: 301209
nebo rovnocenný.

Certifikáty

 

Technické informace

Materiál nerez
Rozsah svorky drát 10 mm
Schopnost vést bleskový proud (10/350 µs) ? *)
Norma s přihlédnutím k ČSN EN 62561-1
*) viz. testovací protokol.

Produkt 301209 byl přidán na seznam.

K seznamu

Produkt 301209 byl přidán do nákupního košíku.


Svorka MV 200 kA (10/350 μs) s pérovou podložkou pro dva dráty

1 Produkt

Obj. č. 390209 MVK 200 8.10 SKM10X30 V2A

GTIN 4013364158245, Číslo celního sazebníku (EU): 85359000, Váha brutto: 103.50 g, Balící jednotka: 1.00 ks


Vyobrazení

Další informace

MV svorka pro dráty
MV svorka pro univerzální použití jako křížová, "T" a paralelní svorka
provedení bez mezidestičky
schopnost převést bleskový proud 200 kA (10/350 μs)
Materiál: nerez
Rozsah svorky drát/drát: 8 - 10 mm
Schopnost vést bleskový proud (10/350 µs): *)
Norma: s přihlédnutím k ČSN EN 62561-1

Výrobek: DEHN
Typ: MVK 200 8.10 SKM10X30 V2A
Obj. č.: 390209
nebo rovnocenný.

Certifikáty

 

Technické informace

Materiál nerez
Rozsah svorky drát/drát 8 - 10 mm
Schopnost vést bleskový proud (10/350 µs) ? *)
Norma s přihlédnutím k ČSN EN 62561-1
*) viz. testovací protokol.

Produkt 390209 byl přidán na seznam.

K seznamu

Produkt 390209 byl přidán do nákupního košíku.


Svorka MV 200 kA (10/350 μs) s pérovou podložkou pro jímací tyče

1 Produkt

Obj. č. 392209 MVK 200 8.10 16 SKM10X40 FSC V2A

GTIN 4013364158238, Číslo celního sazebníku (EU): 85359000, Váha brutto: 140.00 g, Balící jednotka: 1.00 ks


Vyobrazení

Další informace

Svorka MV pro jímací tyče
Svorka MV pro univerzální použití jako křížová, "T" a paralelní svorka
Provedení s pérovou podložkou
Zkouška bleskovým proudem 200 kA (10/350 μs)
Materiál: nerez
Rozsah svorky drát/drát: 8 - 10/16 mm
Schopnost vést bleskový proud (10/350 µs): *)
Norma: s přihlédnutím k ČSN EN 62561-1

Výrobek: DEHN
Typ: MVK 200 8.10 16 SKM10X40 FSC V2A
Obj. č.: 392209
nebo rovnocenný.

Certifikáty

 

Technické informace

Materiál nerez
Rozsah svorky drát/drát 8 - 10/16 mm
Schopnost vést bleskový proud (10/350 µs) ? *)
Norma s přihlédnutím k ČSN EN 62561-1
*) viz. testovací protokol.

Produkt 392209 byl přidán na seznam.

K seznamu

Produkt 392209 byl přidán do nákupního košíku.


Svorka KS 100 kA (10/350 μs) jednodílná s pérovou podložkou

2 Produkty

Obj. č. 301010 KSV 7.10 FER STTZN

GTIN 4013364067028, Číslo celního sazebníku (EU): 85359000, Váha brutto: 62.00 g, Balící jednotka: 100.00 ks


Vyobrazení

Další informace

Svorka KS, jednodílná, FeZn
Svorka KS pro připojení drátu
Materiál spojovacího šroubu: FeZn
Materiál svorky: odlitek Zn
Rozsah svorky drát: 7 - 10 mm
Provedení: + pérová podložka
Schopnost vést bleskový proud (10/350 µs): *)
Norma: ČSN EN 62561-1

Výrobek: DEHN
Typ: KSV 7.10 FER STTZN
Obj. č.: 301010
nebo rovnocenný.

Certifikáty

 

Technické informace

Materiál spojovacího šroubu FeZn
Materiál svorky odlitek Zn
Rozsah svorky drát 7 - 10 mm
Provedení + pérová podložka
Schopnost vést bleskový proud (10/350 µs) = *)
Norma ČSN EN 62561-1
*) viz. testovací protokol.

Produkt 301010 byl přidán na seznam.

K seznamu

Produkt 301010 byl přidán do nákupního košíku.

Obj. č. 301017 KSV 6.10 FER V2A GALCU

GTIN 4013364053502, Číslo celního sazebníku (EU): 85359000, Váha brutto: 79.60 g, Balící jednotka: 100.00 ks


Vyobrazení

Další informace

Svorka KS, jednodílná, Cu
Svorka KS pro připojení drátu
Materiál spojovacího šroubu: Cu
Materiál svorky: červený bronz
Rozsah svorky drát: 6 - 10 mm
Připojení (drát/slaněný vodič): 25 - 70 mm2
Provedení: + pérová podložka
Schopnost vést bleskový proud (10/350 µs): *)
Norma: ČSN EN 62561-1

Výrobek: DEHN
Typ: KSV 6.10 FER V2A GALCU
Obj. č.: 301017
nebo rovnocenný.

Certifikáty

 

Technické informace

Materiál spojovacího šroubu Cu
Materiál svorky červený bronz
Rozsah svorky drát 6 - 10 mm
Připojení (drát/slaněný vodič) 25 - 70 mm2
Provedení + pérová podložka
Schopnost vést bleskový proud (10/350 µs) = *)
Norma ČSN EN 62561-1
*) viz. testovací protokol.

Produkt 301017 byl přidán na seznam.

K seznamu

Produkt 301017 byl přidán do nákupního košíku.


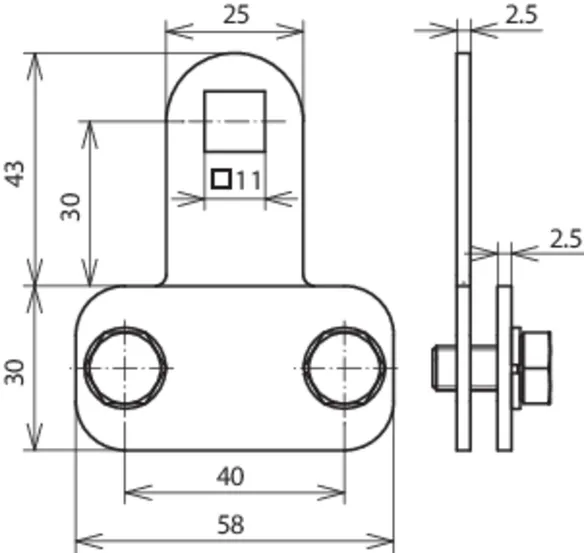
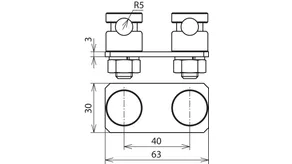
Svorka KS 100 kA (10/350 μs) dvoudílná s pérovou podložkou

1 Produkt

Obj. č. 301229 AP 2X6.10 V2A

GTIN 4013364101562, Číslo celního sazebníku (EU): 85389099, Váha brutto: 167.00 g, Balící jednotka: 1.00 ks


Vyobrazení

Další informace

Svorka KS, dvoudílná, rozteč 40 mm, nerez
Připojovací destička pro připojení vodiče HVI
k jímací tyči
s dvojicí svorek KS, s pérovou podložkou
Materiál spojovacího šroubu: nerez
Materiál svorky: nerez
Rozsah svorky drát: 6 - 10 mm
Provedení: + pérová podložka
Schopnost vést bleskový proud (10/350 µs): / *)
Norma: ČSN EN 62561-1

Výrobek: DEHN
Typ: AP 2X6.10 V2A
Obj. č.: 301229
nebo rovnocenný.

Certifikáty

 

Technické informace

Materiál spojovacího šroubu nerez
Materiál svorky nerez
Rozsah svorky drát 6 - 10 mm
Provedení + pérová podložka
Schopnost vést bleskový proud (10/350 µs) = / & *)
Norma ČSN EN 62561-1
*) viz. testovací protokol.

Produkt 301229 byl přidán na seznam.

K seznamu

Produkt 301229 byl přidán do nákupního košíku.


back to top