Conductor Holders DEHNhold

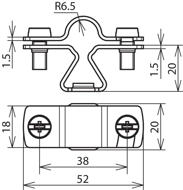
Conductor holder with a slotted saddle clamp for fixing round conductors, fixed conductor routing.
For use with different materials, e.g. Al, StSt, St/tZn and Cu.

With female thread

2 Produkty

Obj. č. 274110 LH ZS 8.10 FL20 M8 V2A

GTIN 4013364123434, Číslo celního sazebníku (EU): 85389099, Váha brutto: 31.50 g, Balící jednotka: 50.00 pc(s)

Staré provedení

Vyobrazení

Další informace

DEHNhold conductor holder with female thread, StSt
DEHNhold conductor holder for fixing round conductors with a slotted saddle clamp, fixed conductor routing.
Material of conductor holder: StSt
Conductor support Rd: 8-10 mm
Conductor support Fl: 20 mm
Height of conductor holder: 20 mm
Thread of conductor holder: M8

Brand: DEHN
Type: LH ZS 8.10 FL20 M8 V2A
Part No.: 274110
or equivalent.

Certifikáty

 

Technické informace

Material of conductor holder StSt
Conductor support Rd 8-10 mm
Conductor support Fl 20 mm
Height of conductor holder 20 mm
Thread of conductor holder M8
Standard EN 62561-4

Produkt 274110 byl přidán na seznam.

K seznamu

Produkt 274110 byl přidán do nákupního košíku.

Obj. č. 274117 LH ZS 8.10 FL20 M8 CU

GTIN 4013364128194, Číslo celního sazebníku (EU): 85389099, Váha brutto: 31.70 g, Balící jednotka: 50.00 pc(s)

Staré provedení

Vyobrazení

Další informace

DEHNhold conductor holder with female thread, StSt/gal Cu
DEHNhold conductor holder for fixing round conductors with a slotted saddle clamp, fixed conductor routing.
Material of conductor holder: StSt / gal Cu
Conductor support Rd: 8-10 mm
Conductor support Fl: 20 mm
Height of conductor holder: 20 mm
Thread of conductor holder: M8

Brand: DEHN
Type: LH ZS 8.10 FL20 M8 CU
Part No.: 274117
or equivalent.

Certifikáty

 

Technické informace

Material of conductor holder StSt / gal Cu
Conductor support Rd 8-10 mm
Conductor support Fl 20 mm
Height of conductor holder 20 mm
Thread of conductor holder M8
Standard EN 62561-4

Produkt 274117 byl přidán na seznam.

K seznamu

Produkt 274117 byl přidán do nákupního košíku.


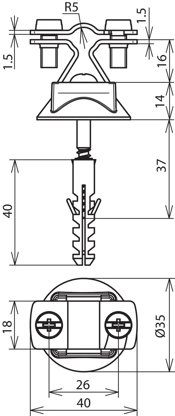
With female thread, pre-assembled with plastic base

1 Produkt

Obj. č. 274150 LH ZS 8.10 FL20 M8 KS V2A

GTIN 4013364128187, Číslo celního sazebníku (EU): 85389099, Váha brutto: 35.00 g, Balící jednotka: 50.00 pc(s)


Vyobrazení

Další informace

DEHNhold conductor holder with female thread, StSt
DEHNhold conductor holder for fixing round conductors with a slotted saddle clamp, fixed conductor routing.
Pre-assembled with plastic base
Material of conductor holder: StSt
Conductor support Rd: 8-10 mm
Conductor support Fl: 20 mm
Height of conductor holder: 20 mm
Thread of conductor holder: M8

Brand: DEHN
Type: LH ZS 8.10 FL20 M8 KS V2A
Part No.: 274150
or equivalent.

Certifikáty

 

Technické informace

Material of conductor holder StSt
Conductor support Rd 8-10 mm
Conductor support Fl 20 mm
Height of conductor holder 20 mm
Thread of conductor holder M8
Standard EN 62561-4

Produkt 274150 byl přidán na seznam.

K seznamu

Produkt 274150 byl přidán do nákupního košíku.


With female thread, pre-assembled with screw, plastic base and plug

2 Produkty

Obj. č. 274160 LH ZS 8.10 FL20 KS KD8X40 V2A

GTIN 4013364123380, Číslo celního sazebníku (EU): 85389099, Váha brutto: 42.00 g, Balící jednotka: 50.00 pc(s)

Staré provedení

Vyobrazení

Další informace

DEHNhold conductor holder with female thread, StSt
DEHNhold conductor holder for fixing round conductors with a slotted saddle clamp, fixed conductor routing.
Pre-assembled with screw, plastic base and plug
Material of conductor holder: StSt
Conductor support Rd: 8-10 mm
Conductor support Fl: 20 mm
Height of conductor holder: 20 mm
Thread of conductor holder: M8
Screw: 5 x 50 mm
Plastic plug: Ø8 x 40 mm

Brand: DEHN
Type: LH ZS 8.10 FL20 KS KD8X40 V2A
Part No.: 274160
or equivalent.

Certifikáty

 

Technické informace

Material of conductor holder StSt
Conductor support Rd 8-10 mm
Conductor support Fl 20 mm
Height of conductor holder 20 mm
Thread of conductor holder M8
Plastic base grey
Screw ak 5 x 50 mm
Standard EN 62561-4

Produkt 274160 byl přidán na seznam.

K seznamu

Produkt 274160 byl přidán do nákupního košíku.

Obj. č. 274167 LH ZS 8.10 FL20 KS KD8X40 CU

GTIN 4013364128200, Číslo celního sazebníku (EU): 85389099, Váha brutto: 42.70 g, Balící jednotka: 50.00 pc(s)

Staré provedení

Vyobrazení

Další informace

DEHNhold conductor holder with female thread, StSt/gal Cu
DEHNhold conductor holder for fixing round conductors with a slotted saddle clamp, fixed conductor routing.
Pre-assembled with screw, plastic base and plug
Material of conductor holder: StSt / gal Cu
Conductor support Rd: 8-10 mm
Conductor support Fl: 20 mm
Height of conductor holder: 20 mm
Thread of conductor holder: M8
Screw: 5 x 50 mm
Plastic plug: Ø8 x 40 mm

Brand: DEHN
Type: LH ZS 8.10 FL20 KS KD8X40 CU
Part No.: 274167
or equivalent.

Certifikáty

 

Technické informace

Material of conductor holder StSt / gal Cu
Conductor support Rd 8-10 mm
Conductor support Fl 20 mm
Height of conductor holder 20 mm
Thread of conductor holder M8
Plastic base brown
Screw ak 5 x 50 mm
Standard EN 62561-4

Produkt 274167 byl přidán na seznam.

K seznamu

Produkt 274167 byl přidán do nákupního košíku.


With female thread, e.g. for round wire with plastic sheath

1 Produkt

Obj. č. 274113 LH ZS 13 M8 V2A

GTIN 4013364123403, Číslo celního sazebníku (EU): 85389099, Váha brutto: 37.60 g, Balící jednotka: 50.00 pc(s)

Staré provedení

Vyobrazení

Další informace

DEHNhold conductor holder with female thread, StSt
DEHNhold conductor holder for fixing round conductors
with plastic sheath
with a slotted saddle clamp,
fixed conductor routing.

Material of conductor holder: StSt
Conductor support Rd: 13 mm
Height of conductor holder: 20 mm
Thread of conductor holder: M8

Brand: DEHN
Type: LH ZS 13 M8 V2A
Part No.: 274113
or equivalent.

Certifikáty

 

Technické informace

Material of conductor holder StSt
Conductor support Rd 13 mm
Height of conductor holder 20 mm
Thread of conductor holder M8

Produkt 274113 byl přidán na seznam.

K seznamu

Produkt 274113 byl přidán do nákupního košíku.


back to top