Podpůrné trubky s vodičem HVI power

Vodič s vysokonapěťovou izolací pro dodržení dostatečné vzdálenosti vůči vodivým částem podle ČSN EN 62305-3.
Použití pro nejvyšší dostatečnou vzdálenost s ≤ 90 cm (pro vzduch) nebo s ≤ 180 cm (pro pevný nevodivý materiál).

Opticky přizpůsobené provedení díky uložení vodiče HVI power uvnitř podpůrné trubky, s nízkým větrným odporem.

Minimální délka pro objednání je 6 m. Potřebnou délku vodiče je třeba zadat v objednávce.
Na základě výroby potvrzené objednávkou (úprava délky vedení) nemůže být vedení vráceno zpět.

Potřebnou délku vodiče je třeba zadat při objednání (krok 0,5 m).

Vodič HVI power v podpůrné trubce s jímací tyčí krátkou

Podpůrná trubka s vnitřním připojením vodiče a s pružinovou PA svorkou.
Jímací tyč nerez Ø 10 mm, délka 1000 mm.

1 Produkt

Obj. č. 819430 HVI P 27 L6M SR3500 FSP1000 GFK V2A

GTIN 4013364152236, Číslo celního sazebníku (EU): 85389099, Váha brutto: 16.00 kg, Balící jednotka: 1.00 ks


Vyobrazení

Další informace

Vodič HVI power v podpůrné trubce, délka 3500 mm GFK/nerez
Vodič HVI power v podpůrné trubce
Vodič s vysokonapěťovou izolací pro dodržení dostatečné vzdálenosti
vůči vodivým částem podle ČSN EN 62305-3
Ekvivalent dostatečné vzdálenosti s = ≤ 90 cm (pro vzduch)
nebo s = ≤ 180 cm (pro pevný nevodivý materiál)
Vodiče HVI power v podpůrné trubce jsou dimenzovány podle Eurocode 1 (ČSN EN 1991-1-4 + ČSN EN 1991-1-4/NA)
Provedení vodiče HVI power, s připojením uvnitř podpůrné trubky a
pružinovou PA svorkou s jímací tyčí Ø 10 mm, délka 1000 mm
Materiál podpůrné trubky: GFK/nerez
Délka podpůrné trubky: 3500 mm
Přepravní délka: 3500 mm
Průměr vodiče: 27 mm
Barva vodiče: černá ●
Materiál vnitřního vodiče: Cu
Minimální objednací délka: 6 m
Maximální objednací délka: 35 m
Max. volná délka s jímací tyčí (montáž na stěnu): 3500 mm
Max. rychlost nárazového větru: (max. volná délka 3500 mm, 1x HVI power vnitřní) 234 km/h
Norma: DIN IEC/TS 62561-8 (VDE V 0185-561-8)

Výrobek: DEHN
Typ: HVI P 27 L6M SR3500 FSP1000 GFK V2A
Obj. č.: 819430
nebo rovnocenný.

Certifikáty

 

Technické informace

Materiál podpůrné trubky GFK/ nerez
Délka podpůrné trubky 3500 mm
Přepravní délka 3500 mm
Průměr vodiče 27 mm
Barva vodiče černá ●
Materiál vnitřního vodiče Cu
Minimální objednací délka 6 m
Maximální objednací délka 35 m
Určeno pro uložení vně trubky ne
Max. volná délka s jímací tyčí (montáž na stěnu) 3500 mm
Norma DIN IEC/TS 62561-8 (VDE V 0185-561-8)

Produkt 819430 byl přidán na seznam.

K seznamu

Produkt 819430 byl přidán do nákupního košíku.


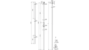
Vodič HVI power v podpůrné trubce s jímací tyčí dlouhou

Podpůrná trubka s vnitřním připojením vodiče a s pružinovou PA svorkou.
Jímací tyč nerez Ø 22 / 16 / 10 mm, délka 2500 mm.

2 Produkty

Obj. č. 819431 HVI P 27 L6M SR3500 FS2500 GFK V2A

GTIN 4013364155442, Číslo celního sazebníku (EU): 85389099, Váha brutto: 17.60 kg, Balící jednotka: 1.00 ks


Vyobrazení

Další informace

Vodič HVI power v podpůrné trubce, délka 3500 mm GFK/nerez
Vodič HVI power v podpůrné trubce
Vodič s vysokonapěťovou izolací pro dodržení dostatečné vzdálenosti
vůči vodivým částem podle ČSN EN 62305-3
Ekvivalent dostatečné vzdálenosti s = ≤ 90 cm (pro vzduch)
nebo s = ≤ 180 cm (pro pevný nevodivý materiál)
Vodiče HVI power v podpůrné trubce jsou dimenzovány podle Eurocode 1 (ČSN EN 1991-1-4 + ČSN EN 1991-1-4/NA)
Provedení vodiče HVI power, s připojením uvnitř podpůrné trubky a
pružinovou PA svorkou s jímací tyčí Ø 22/ 16 / 10 mm, délka 2500 mm
Materiál podpůrné trubky: GFK/nerez
Délka podpůrné trubky: 3500 mm
Přepravní délka: 3500 mm
Průměr vodiče: 27 mm
Barva vodiče: černá ●
Materiál vnitřního vodiče: Cu
Minimální objednací délka: 6 m
Maximální objednací délka: 35 m
Max. volná délka s jímací tyčí (montáž na stěnu): 5000 mm
Max. rychlost nárazového větru: (max. volná délka 5000 mm, 1x HVI power vnitřní) 163 km/h
Norma: DIN IEC/TS 62561-8 (VDE V 0185-561-8)

Výrobek: DEHN
Typ: HVI P 27 L6M SR3500 FS2500 GFK V2A
Obj. č.: 819431
nebo rovnocenný.

Certifikáty

 

Technické informace

Materiál podpůrné trubky GFK/ nerez
Délka podpůrné trubky 3500 mm
Přepravní délka 3500 mm
Průměr vodiče 27 mm
Barva vodiče černá ●
Materiál vnitřního vodiče Cu
Minimální objednací délka 6 m
Maximální objednací délka 35 m
Určeno pro uložení vně trubky ne
Max. volná délka s jímací tyčí (montáž na stěnu) 5000 mm
Norma DIN IEC/TS 62561-8 (VDE V 0185-561-8)

Produkt 819431 byl přidán na seznam.

K seznamu

Produkt 819431 byl přidán do nákupního košíku.

Obj. č. 819433 HVI P 27 L6M SR5000 FS2500 GFK V2A

GTIN 4013364155459, Číslo celního sazebníku (EU): 85389099, Váha brutto: 21.60 kg, Balící jednotka: 1.00 ks


Vyobrazení

Další informace

Vodič HVI power v podpůrné trubce, délka 5000 mm GFK/nerez
Vodič HVI power v podpůrné trubce
Vodič s vysokonapěťovou izolací pro dodržení dostatečné vzdálenosti
vůči vodivým částem podle ČSN EN 62305-3
Ekvivalent dostatečné vzdálenosti s = ≤ 90 cm (pro vzduch)
nebo s = ≤ 180 cm (pro pevný nevodivý materiál)
Vodiče HVI power v podpůrné trubce jsou dimenzovány podle podle Eurocode 1 (ČSN EN 1991-1-4 + ČSN EN 1991-1-4/NA)
Provedení vodiče HVI power, s připojením uvnitř podpůrné trubky a
pružinovou PA svorkou s jímací tyčí Ø 22/ 16 / 10 mm, délka 2500 mm
Materiál podpůrné trubky: GFK/nerez
Délka podpůrné trubky: 5000 mm
Přepravní délka: 5000 mm
Průměr vodiče: 27 mm
Barva vodiče: černá ●
Materiál vnitřního vodiče: Cu
Minimální objednací délka: 6 m
Maximální objednací délka: 35 m
Max. volná délka s jímací tyčí (montáž na stěnu): 5500 mm
Max. rychlost nárazového větru: (max. volná délka 5500 mm, 1x HVI power vnitřní) 159 km/h
Norma: DIN IEC/TS 62561-8 (VDE V 0185-561-8)

Výrobek: DEHN
Typ: HVI P 27 L6M SR5000 FS2500 GFK V2A
Obj. č.: 819433
nebo rovnocenný.

Certifikáty

 

Technické informace

Materiál podpůrné trubky GFK/ nerez
Délka podpůrné trubky 5000 mm
Přepravní délka 5000 mm
Průměr vodiče 27 mm
Barva vodiče černá ●
Materiál vnitřního vodiče Cu
Minimální objednací délka 6 m
Maximální objednací délka 35 m
Určeno pro uložení vně trubky ne
Max. volná délka s jímací tyčí (montáž na stěnu) 5500 mm
Norma DIN IEC/TS 62561-8 (VDE V 0185-561-8)

Produkt 819433 byl přidán na seznam.

K seznamu

Produkt 819433 byl přidán do nákupního košíku.


back to top