Jímací tyče GFK/Al

Jímací tyče pro instalaci oddáleného jímacího zařízení na rovných střechách. Jímače se upevňují pomocí klínku do betonových podstavců.

Při výpočtu dostatečné vzdálenosti (délky distančních tyčí) je třeba uvažovat s koeficientem materiálu km = 0,7.
Průměr 16 mm, odolnost proti UV záření, barva světle šedá, pro teploty prostředí od -50 °C do +100 °C.

Jímací tyče jsou dimenzovány podle Eurocode 1 (ČSN EN 1991-1-4 + DIN EN 1991-1-4/NA) při použití dvou betonových podstavců (hmotnost 17 kg).
Stohovatelný betonový podstavec (kat. č. 102 010) a podložku (kat. č. 102 050) je třeba objednat samostatně.

Jímací tyče GFK/Al splňují požadavky DIN/IEC TS 62561-8.

Provedení slisované

2 Produkty

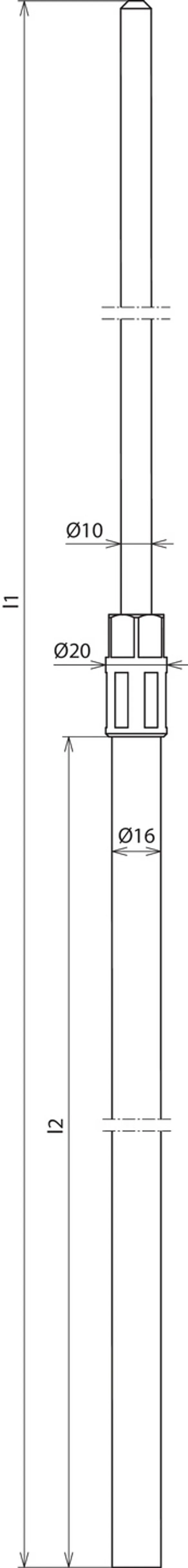
Obj. č. 106207 FS 16 10 1660 GFK AL

GTIN 4013364127623, Číslo celního sazebníku (EU): 85389099, Váha brutto: 493.00 g, Balící jednotka: 10.00 ks


Vyobrazení

Další informace

Jímací tyč GFK/Al slisovaná celkové délky 1660 mm
Jímací tyče GFK/Al
pro výstavbu oddálených jímacích soustav např.
na plochých střechách, kotvených do betonových základen zajištěných klínky.
Pro dodržení dostatečné vzdálenosti podle ČSN EN 62305-3 (VDE 0185-305-3).
Jímací tyče jsou dimenzovány podle
Eurocode 1 (DIN EN 1991-1-4 + DIN EN 1991-1-4/NA).
distanční tyč z umělé hmoty vyztužené skelnými vlákny (GFK) Ø16 mm,
koeficient materiálu km = 0,7, odolnost vůči UV záření, barva světle šedá
provedení slisované
Celková délka: 1660 mm
Izolační délka: 635 mm
Materiál hrotu/zdířky: Al
Materiál distanční tyče: GFK
Max. rychlost nárazového větru (1x podstavec 17 kg, rozpětí držáku 1000 mm, Al Ø 8 mm): 114 km/h
Max. rychlost nárazového větru (2x podstavec 17 kg, rozpětí držáku 1000 mm, Al Ø 8 mm): 129 km/h
Norma: DIN IEC/TS 62561-8 (VDE V 0185-561-8)

Výrobek: DEHN
Typ: FS 16 10 1660 GFK AL
Obj. č.: 106207
nebo rovnocenný.

Certifikáty

 

Technické informace

Celková délka (l1) 1660 mm
Izolační délka (l2) 635 mm
Materiál hrotu/zdířky Al
Max. rychlost nárazového větru (1x podstavec 17 kg, rozpětí držáku 1000 mm, Al Ø 8 mm) 114 km/h
Max. rychlost nárazového větru (2x podstavec 17 kg, rozpětí držáku 1000 mm, Al Ø 8 mm) 129 km/h
Norma DIN IEC/TS 62561-8 (VDE V 0185-561-8)

Produkt 106207 byl přidán na seznam.

K seznamu

Produkt 106207 byl přidán do nákupního košíku.

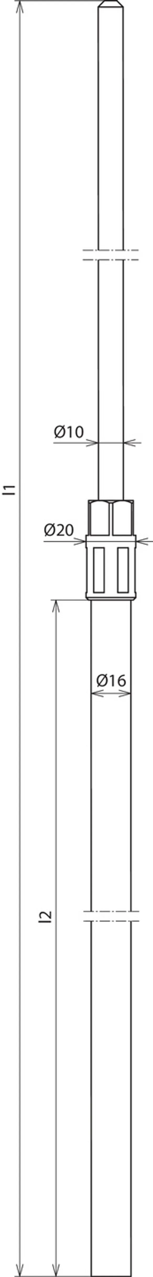
Obj. č. 106210 FS 16 10 2000 GFK AL

GTIN 4013364127630, Číslo celního sazebníku (EU): 85389099, Váha brutto: 625.00 g, Balící jednotka: 10.00 ks


Vyobrazení

Další informace

Jímací tyč GFK/Al slisovaná celkové délky 2000 mm
Jímací tyče GFK/Al
pro výstavbu oddálených jímacích soustav např.
na plochých střechách, kotvených do betonových základen zajištěných klínky.
Pro dodržení dostatečné vzdálenosti podle ČSN EN 62305-3 (VDE 0185-305-3).
Jímací tyče jsou dimenzovány podle
Eurocode 1 (DIN EN 1991-1-4 + DIN EN 1991-1-4/NA).
distanční tyč z umělé hmoty vyztužené skelnými vlákny (GFK) Ø16 mm,
koeficient materiálu km = 0,7, odolnost vůči UV záření, barva světle šedá
provedení slisované
Celková délka: 2000 mm
Izolační délka: 975 mm
Materiál hrotu/zdířky: Al
Materiál distanční tyče: GFK
Max. rychlost nárazového větru (1x podstavec 17 kg, rozpětí držáku 1000 mm, Al Ø 8 mm): 93 km/h
Max. rychlost nárazového větru (2x podstavec 17 kg, rozpětí držáku 1000 mm, Al Ø 8 mm): 105 km/h
Norma: DIN IEC/TS 62561-8 (VDE V 0185-561-8)

Výrobek: DEHN
Typ: FS 16 10 2000 GFK AL
Obj. č.: 106210
nebo rovnocenný.

Certifikáty

 

Technické informace

Celková délka (l1) 2000 mm
Izolační délka (l2) 975 mm
Materiál hrotu/zdířky Al
Max. rychlost nárazového větru (1x podstavec 17 kg, rozpětí držáku 1000 mm, Al Ø 8 mm) 93 km/h
Max. rychlost nárazového větru (2x podstavec 17 kg, rozpětí držáku 1000 mm, Al Ø 8 mm) 105 km/h
Norma DIN IEC/TS 62561-8 (VDE V 0185-561-8)

Produkt 106210 byl přidán na seznam.

K seznamu

Produkt 106210 byl přidán do nákupního košíku.


Provedení variabilní se závitem M10

Např. pro jímací tyč obj. č. 101 001, jímací tyč se svorkou MV obj. č. 105 071 (v místech křížení jímacího vedení) nebo pouze svorku MV obj. č. 105 079 pro napnutí vedení.

2 Produkty

Obj. č. 106217 DIST 16 M10 675 GFK

GTIN 4013364128811, Číslo celního sazebníku (EU): 85389099, Váha brutto: 280.00 g, Balící jednotka: 10.00 ks

Staré provedení

Vyobrazení

Další informace

Jímací tyč GFK/Al se závitem M10, celková délka 675 mm
jímací tyče GFK/Al
pro instalaci oddáleného jímacího zařízení na rovných střechách, pro upevnění klínku do betonového podstavce.
Pro dodržení dostatečné vzdálenosti podle ČSN EN 62305-3 (VDE 0185-305-3).
Distanční tyč z umělé hmoty vyztužené skleněnými vlákny GFK (glasfaserverstärkte Kunststoff),
Ø 16 mm, koeficientem materiálu km = 0,7
odolné proti UV záření, barva světle šedá
provedení variabilní se závitem M10
např. pro jímací tyč se závitem obj. č. 101 001, jímací tyč se svorkou MV obj. č. 105 071
Celková délka: 675 mm
Izolační délka: 635 mm
Materiál hrotu/zdířky: Al
Materiál distanční tyče: GFK
Norma: DIN IEC/TS 62561-8 (VDE V 0185-561-8)

Výrobek: DEHN
Typ: DIST 16 M10 675 GFK
Obj. č.: 106217
nebo rovnocenný.

Certifikáty

 

Technické informace

Celková délka (l1) 675 mm
Izolační délka (l2) 635 mm
Materiál hrotu/zdířky Al
Norma DIN IEC/TS 62561-8 (VDE V 0185-561-8)

Produkt 106217 byl přidán na seznam.

K seznamu

Produkt 106217 byl přidán do nákupního košíku.

Obj. č. 106220 DIST 16 M10 1015 GFK

GTIN 4013364128828, Číslo celního sazebníku (EU): 85389099, Váha brutto: 410.00 g, Balící jednotka: 10.00 ks


Vyobrazení

Další informace


Celková délka: 1015 mm
Izolační délka: 975 mm
Materiál hrotu/zdířky: Al
Materiál distanční tyče: GFK
Norma: DIN IEC/TS 62561-8 (VDE V 0185-561-8)

Výrobek: DEHN
Typ: DIST 16 M10 1015 GFK
Obj. č.: 106220
nebo rovnocenný.

Certifikáty

 

Technické informace

Celková délka (l1) 1015 mm
Izolační délka (l2) 975 mm
Materiál hrotu/zdířky Al
Norma DIN IEC/TS 62561-8 (VDE V 0185-561-8)

Produkt 106220 byl přidán na seznam.

K seznamu

Produkt 106220 byl přidán do nákupního košíku.


back to top